中国(安徽)国际贸易单一窗口

您好,欢迎来到中国(安徽)国际贸易单一窗口!

首页 >  政策法规  > 口岸服务  >  详情
2022年4月,安徽代理报关企业进口整体通关时间

发布时间:2022-05-20 11:05:00  发布人:管理员

一、航空运输通关时间情况

图片

图片

图片

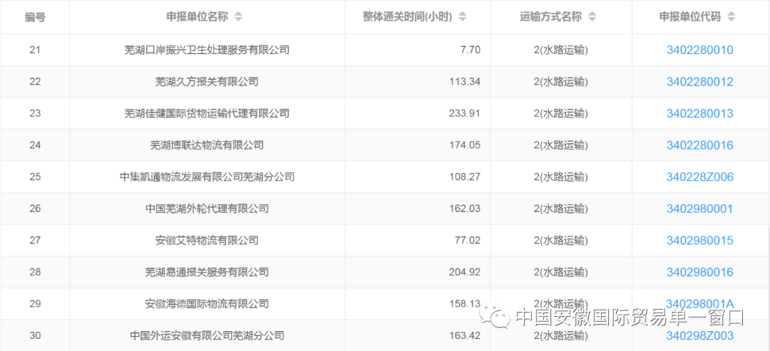
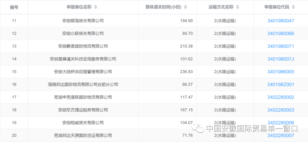
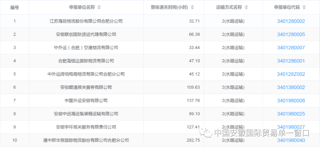
二、水路运输通关时间情况

图片

图片

图片

图片

图片

三、铁路运输通关时间情况

图片


中国(安徽)国际贸易单一窗口
China (AnHui) International Trade Single Window
安徽省人民政府口岸管理办公室 Copyright© 2017-2024 ICP备案号:皖B2-20150036-12